2022年7月9日铝业行情
7月19日长江有色金属现货快讯

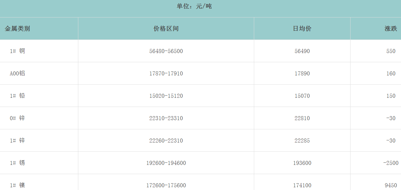
7月19日长江有色基本金属行情

7月19日中原有色市场行情

7月19日上海期货开盘行情


注:1、表中铜、铝、锌2208合约为现货合约。
2、本表中涨跌=今开盘价-昨结算价,其中昨结算是指昨日价格的加权平均价。
3、报价单位:铜、铝、锌、铅为元/吨。
7月19日上海现货(SME)基本金属行情

7月19日广东南储华南地区有色金属市场行情

7月19日广东南储华东有色金属报价

- 上一条信息:2022年7月15日铝业行情
- 下一条信息:五种铝合金无铬氧化法

